正常使用的噴頭停止使用在90天以內
第一步:關機后,用清洗劑將噴嘴表面沖洗干凈;
第二步:執行加壓擠墨,清除噴嘴表面的殘留清洗劑,并保證噴嘴表面的清洗劑被墨水清理干凈,然后將噴嘴保護板上的墨水擦拭干凈;并蓋上噴頭保護蓋;
第三步:取下供墨墨盒,插入維護墨盒,并使用密封袋或者保鮮膜,將噴頭包裹起來,防止噴頭內部墨水干燥揮發;并將保護好的噴頭存儲到陽光照射不到的空間。
清洗及維修過的噴頭停止使用在90天以內
第一步:噴頭清洗或者維修完成后,插入供墨墨盒,操作加壓擠墨,將墨水注入噴頭;同時清除噴嘴表面的殘留的清洗劑或者丙酮,并保證噴嘴表面的清洗劑被墨水清理干凈,然后將噴嘴保護板上的墨水擦拭干凈;并蓋上噴頭保護蓋;
第二步:取下供墨墨盒,插入維護墨盒,并使用密封袋或者保鮮膜,將噴頭包裹起來,防止噴頭內部墨水干燥揮發;并將保護好的噴頭存儲到陽光照射不到的空間。
噴頭停止使用超過90天
將噴頭清洗完成后,使用維護墨盒將 保濕劑注入噴頭;然后蓋好噴頭保護蓋, 并使用密封袋或者保鮮膜,將噴頭包裹起來,防止噴頭內部保濕劑揮發。
使用白墨噴頭停止使用超過15天
噴頭清洗完成后,插使用維護墨盒將保濕劑注入噴頭;然后蓋好噴頭保護蓋, 并使用密封袋或者保鮮膜,將噴頭包裹起來,防止噴頭內部保濕劑揮發。
噴頭清洗操作步驟
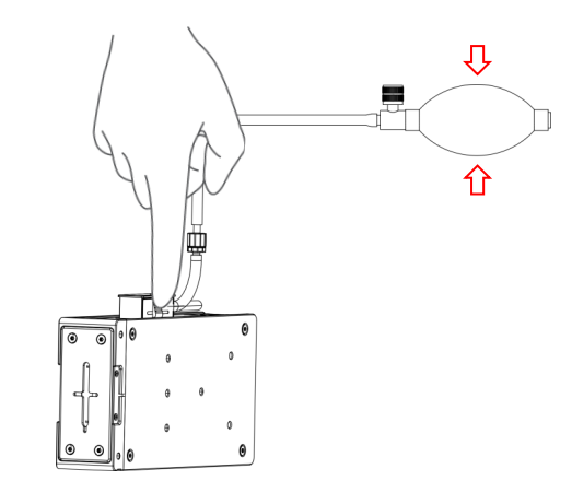
第一步:關機后取下供墨墨盒。執行【噴頭排空】,使用清洗墨盒及加壓球將噴頭內部墨水排出;
1:插入“清洗墨盒”、接好加壓球,取下噴頭蓋;
2:緩擠加壓球,重復幾次,排空噴頭內的廢液。

第二步:執行【噴頭清洗】,使用清洗墨盒、清洗劑將噴頭內部墨水清洗干凈;
1:插入“清洗墨盒”、連接盛有清洗劑的針筒;
2:緩慢向前推送針筒,待噴嘴流出的清洗液;
3:執行【噴頭排空】步驟排出清洗液;多次交替進行第二步和第三步,直至溢出透明清洗液為止。
